Загрузки DmitriyRDS
Перейти к навигации
Перейти к поиску
Эта служебная страница показывает все загруженные файлы.
| Дата | Имя файла | Миниатюра | Размер | Описание | Версий |
|---|---|---|---|---|---|
| 19:53, 17 августа 2025 | Muzey 07 2.JPG (файл) | 968 Кб | Восстановление фото после сбоя | 1 | |
| 19:41, 17 августа 2025 | Muzey 08 2.JPG (файл) | 977 Кб | Восстановление фото после сбоя | 1 | |
| 19:34, 17 августа 2025 | Muzey 09 2.JPG (файл) | 992 Кб | Восстановление фото после сбоя | 1 | |
| 19:30, 17 августа 2025 | Muzey 02 2.JPG (файл) | 990 Кб | Восстановление фото после сбоя | 1 | |
| 19:23, 17 августа 2025 | Muzey 03 2.JPG (файл) | 981 Кб | Восстановление фото после сбоя | 1 | |
| 19:18, 17 августа 2025 | Muzey 01 2.jpeg (файл) | ![]() |
995 Кб | Восстановление фото | 1 |
| 19:15, 17 августа 2025 | Pantikapei 03 2.JPG (файл) | 1008 Кб | Восстановление фото после сбоя | 1 | |
| 19:07, 17 августа 2025 | Pantikapei 02 2.jpeg (файл) | ![]() |
1004 Кб | Восстановление фото после сбоя | 1 |
| 19:05, 17 августа 2025 | Pantikapei 01 2.JPG (файл) | 1001 Кб | Восстановление фото после сбоя | 1 | |
| 13:26, 3 августа 2025 | Цветовая маркировка оптических волокон в кабелях компании Datwyler.jpeg (файл) | ![]() |
135 Кб | Цветовая маркировка оптических волокон в оптических кабелях компании Datwyler | 1 |
| 13:21, 3 августа 2025 | Tabl 2 2 markerOV.jpg (файл) | ![]() |
508 Кб | исправления и дополнения | 2 |
| 21:37, 6 апреля 2024 | Fluorescence microscop 3.jpg (файл) | ![]() |
147 Кб | 1 | |
| 18:41, 22 августа 2023 | Pigtail 1.jpg (файл) | ![]() |
181 Кб | 1 | |
| 18:39, 22 августа 2023 | Splice CORELINK AMP 1.jpg (файл) | ![]() |
1017 Кб | 1 | |
| 18:36, 22 августа 2023 | FO adapter 1.jpg (файл) | ![]() |
992 Кб | 1 | |
| 18:33, 22 августа 2023 | MuftaFO 1.JPG (файл) | 1009 Кб | 1 | ||
| 18:30, 22 августа 2023 | MuftaFO 1.jpg.JPG (файл) | ![]() |
1009 Кб | 1 | |
| 18:28, 22 августа 2023 | MuftaFO.jpg (файл) | ![]() |
1009 Кб | 3 | |
| 08:40, 20 августа 2023 | 533px-Mikrofotometr 001.jpg (файл) | ![]() |
22 Кб | 1 | |
| 16:55, 10 августа 2023 | 3032 18 1.jpg (файл) | ![]() |
967 Кб | 1 | |
| 16:55, 10 августа 2023 | 3032 8 1.jpg (файл) | ![]() |
865 Кб | 1 | |
| 16:54, 10 августа 2023 | 3032 2 1.jpg (файл) | ![]() |
938 Кб | 1 | |
| 16:51, 10 августа 2023 | 3032 8.JPG (файл) | 865 Кб | 2 | ||
| 16:46, 10 августа 2023 | OF-MCVD 1.jpg (файл) | ![]() |
84 Кб | 1 | |
| 16:39, 10 августа 2023 | Shema bronchoscopa 1.jpg (файл) | ![]() |
254 Кб | 1 | |
| 17:04, 9 августа 2023 | Betcold .jpg (файл) | ![]() |
10 Кб | 1 | |
| 17:48, 8 августа 2023 | Fluorescence microscop 1.jpg (файл) | ![]() |
36 Кб | 1 | |
| 17:42, 8 августа 2023 | Fluorescence microscop.jpg (файл) | ![]() |
147 Кб | 1 | |
| 17:13, 8 августа 2023 | Peredacha izobrajeniya 2.jpg (файл) | ![]() |
64 Кб | 1 | |
| 17:12, 8 августа 2023 | Peredacha izobrajeniya 1.jpg (файл) | ![]() |
78 Кб | 1 | |
| 17:08, 8 августа 2023 | 800px-Peredacha izobrajeniya 1.jpg (файл) | ![]() |
78 Кб | 1 | |
| 17:07, 8 августа 2023 | Mnogovolokonnye svetovody 2.jpg (файл) | ![]() |
907 Кб | 1 | |
| 16:51, 8 августа 2023 | Mnogovolokonnye svetovody 1.jpg (файл) | ![]() |
900 Кб | Внешний вид многоволоконных световодов | 1 |
| 18:00, 7 августа 2023 | OV giroskop ustroystvo.jpg (файл) | ![]() |
13 Кб | 1 | |
| 17:59, 7 августа 2023 | OV srnsor tip.jpg (файл) | ![]() |
21 Кб | 1 | |
| 06:16, 11 мая 2023 | Kolor sebsor.jpg (файл) | ![]() |
86 Кб | восстановление повреждённого рисунка | 2 |
| 12:11, 5 мая 2023 | Rod 1a.jpg (файл) | ![]() |
35 Кб | {{Изображение | Название = Строение палочки в сетчатке глаза | Описание = рис. 2. Строение палочки (сетчатка): 1 — наружний сегмент (содержит мембранные диски), 2 — связующий отдел (ресничка), 3 — внутренний отдел (содержит митохондрии), 4 — основание с нервными окончаниями. | Автор = взято из: ФГОУ ВПО "НОВОСИБИРСКИЙ ГОСУДАРСТВЕННЫЙ АГРАРНЫЙ УНИВЕРСИТЕТ". | Время создания = 27 ноября 2009 года | Источник = http://vetfak.nsau.edu.ru/new/uchebnic/histology/r5/t16(1).... | 1 |
| 11:49, 5 мая 2023 | NTZ ris4.jpg (файл) | ![]() |
74 Кб | восстановление повреждённого рисунка | 3 |
| 11:47, 5 мая 2023 | NTZ ris7 1.jpg (файл) | ![]() |
53 Кб | == Краткое описание == {{Изображение | Название = Рис. 7 | Описание = Рис. 7. Частные случаи работы прибора. Цветовые области: а - нормального глаза, б - протанопа, в - дейтеранопа, г - тританопа. | Автор = DmitriyRDS | Время создания = 4 февраля 2010 | Источник = «собственная работа»}} == Лицензирование: == {{PD-self}} | 1 |
| 11:35, 5 мая 2023 | NTZ ris8 1.jpg (файл) | ![]() |
60 Кб | == Краткое описание == {{Изображение | Название = Рис. 8 | Описание = Рис. 8. Схема простейшего прибора, имитирующего работу глаза. | Автор = DmitriyRDS | Время создания = 4 февраля 2010 | Источник = «собственная работа»}} == Лицензирование: == {{PD-self}} | 1 |
| 21:39, 23 января 2018 | Colorimetricheckie harakteristiki izlucheniya.jpg (файл) | ![]() |
36 Кб | определения колориметрических характеристик излучения в Нелинейной двухкомпонентной модели цветовосприятия | 1 |
| 17:54, 19 ноября 2017 | Raspredelenie izlucheniya v konuse.jpg (файл) | ![]() |
96 Кб | Крупный план края конического волокна, показывающий распределение излучения по длине волокна | 2 |
| 17:17, 19 ноября 2017 | Geometry tapered quartz rod.jpg (файл) | ![]() |
131 Кб | геометрия сужающегося кварцевого стержня | 1 |
| 16:56, 19 ноября 2017 | John A. Medeiros .jpg (файл) | ![]() |
438 Кб | Джон А. Медейрос (John A. Medeiros) автор одноколбочковой модели цветовосприятия, доказывающий несостоятельность трёхкомпонентных (трёхколбочк… | 1 |
| 22:02, 19 октября 2017 | Сетчатка 001.jpg (файл) | ![]() |
624 Кб | Строение сетчатки глаза человека. | 1 |
| 20:09, 5 октября 2017 | Centralnaya-yamka-setchatki.jpg (файл) | ![]() |
58 Кб | Расположение центральной ямки на сетчатке глаза человека | 1 |
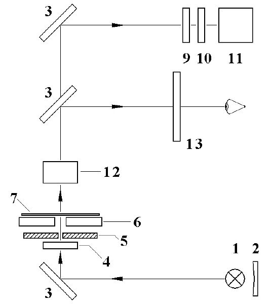
| 19:20, 29 октября 2016 | Densitometr 004.jpg (файл) | ![]() |
34 Кб | Схема внутреннего строения денситометра предназначенного для измерений в отражённом свете | 1 |
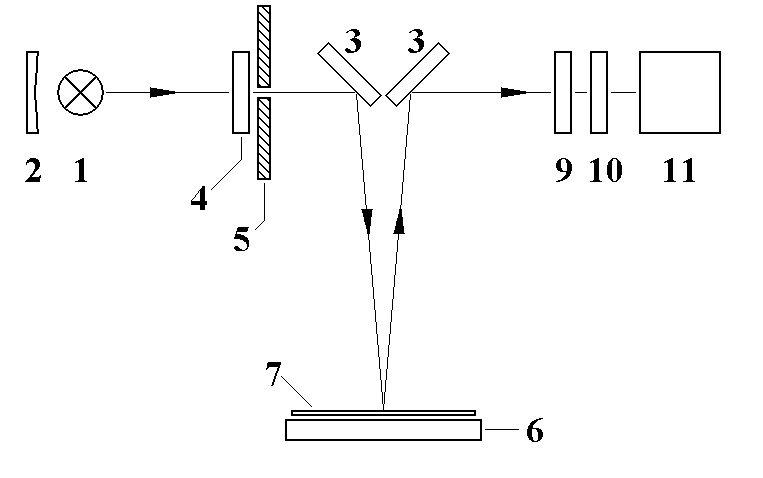
| 19:20, 29 октября 2016 | Densitometr 001.jpg (файл) | ![]() |
23 Кб | Схема внутреннего строения денситометра предназначенного для измерений в проходящем свете | 1 |
| 19:09, 29 октября 2016 | Spektry chuvstvitelnosty 01.jpg (файл) | ![]() |
30 Кб | Спектры чувствительности различных типов фотоприёмников используемых в спектрофотометрах | 1 |
| 19:08, 29 октября 2016 | Spektrofotometr 02.jpg (файл) | ![]() |
23 Кб | Блок-схема однолучевого спектрофотометра с фокусировкой на образце широкополосного излучения и дальнейшем измерением с помощью монохр… | 1 |








































