Гипотетический многогранник перераспределения

Материал из Циклопедии
(перенаправлено с «ГМП»)
Перейти к навигации Перейти к поиску

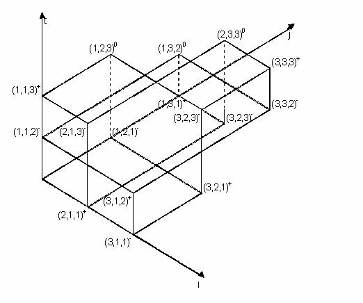
Гипотетический многогранник перераспределения (ГМП) - это множество узлов (элементов) целочисленной решётки NmxNnxNk, содержащее в каждом ряду решётки не менее двух узлов.

Назначение[править]

ГМП используется для построения трёхмерных циклов перераспределения перевозок в трёхиндексной транспортной задаче.

ГМП называется допустимым, если все его узлы можно пометить так, что в каждом ряду решётки число узлов со знаком "+" равно числу узлов со знаком "-". Очевидно, что в допустимом ГМП чётное число узлов в рядах. Все остальные ГМП будем считать недопустимыми.

Примеры ГМП[править]

Допустимые ГМП:[править]

ГМП11.PNG

ГМП12.JPG

Недопустимые ГМП:[править]

ГМП21.JPG

ГМП22.JPG

Литература[править]

  • Кривопалов Ю. А. Метод потенциалов для решения трёхиндексной транспортной задачи. М.,ВИМИ, 1990г. деп.№Д08221.
  • Кривопалов Ю. А. Метод потенциалов для решения трёхиндексной транспортной задачи. Сборник ХI конференции «Наука. Творчество» 2015, Самара, Т.1,стр.39.

Ссылки[править]